玖鼎e投

新闻中心
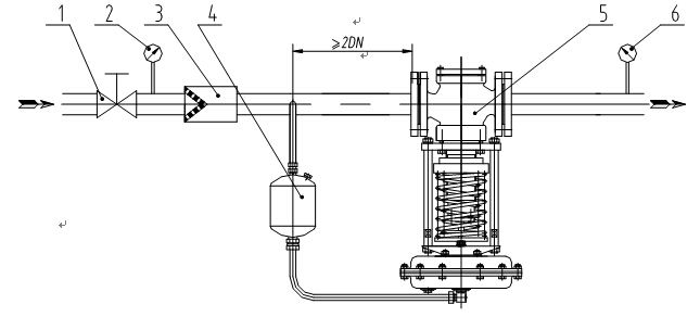
自力式调理阀装置图
宣布时间:2017-10-11 14:41:29 【返回】

自力式调理阀装置图

自力式调理阀地面装置图

  自力式调理阀的装置与调试

  一、带指挥器型调压原理

  指挥器操作型自力式压力调理阀无需外加能源 ,使用被调介质自身压力作为动力源 ,引入指挥器以控制主阀的阀芯位置来改变阀门的介质流量 ,使阀后压力坚持恒定。介质由阀体上箭头偏向流经阀体 ,上游压力P1经由滤减压阀进入指挥器B室作为驱动源使用。受控的下游压力P2经到茏鬈传送到指挥检测室A ,并在此转换成定位力。当下游压力升高或降低时 ,使指挥器阀芯位移 ,气源进入C ,使调压阀趋向开启或关闭 ,从而抵达减压、稳压的目的。

  二、装置注重事项:

  1、阀门装置偏向与流向一定要包管一致。

  2、阀门使用工艺参数一定要与名牌一致。

  3、管道内要求介质清洁 ,无粉尘 ,坚硬的颗粒。

  三、调试

  1、缓慢翻开阀前手动阻止阀 ,并视察阀后管道压力表 ,审查压力是否在阀门设计值内。(注:瞬间翻开阀前控制阀门)

  2、如阀后压力与设计值一致 ,无需调试。

  3、如阀后压力不在工艺值规模内 ,首先翻开防雨罩 ,调解蝴蝶螺母。(顺时针调理 ,阀后压力增大 ,反之减小。)

  4、如阀门有震荡或压力不稳固。先视察减压阀压力 ,是否在2-2.5kg规模内。

  5、如不在2-2.5kg规模内 ,调理减压阀使值落在以上规模内。

  6、若是震荡 ,翻开限流阀防雨罩 ,松开拼紧螺母 ,顺时针转动限流阀芯螺杆究竟后再逆时针转动一周 ,再视察阀门是否震荡。

  7、调试完毕后 ,将拼紧螺母拼紧。


上页: 没有了!
手机:17706668555
? 2019 版权所有 玖鼎e投
网站地图